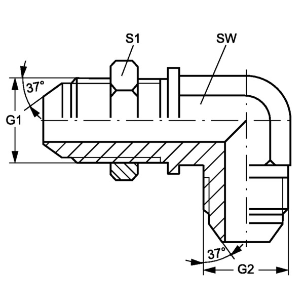
Skot fitting socket, angle 90° (SW 90 HJ)
| Produktklassifisering | Hydraulik |
|---|---|
| Produktkategori | Fittings |
| Produktgruppe | Hydraulik Fittings |
| Produktprogram | Adaptorer |
| Info | Hymatik varenr. |
Materiale
|
Overfladebehandling
|
Note
|
TariffNumber
|
Vægt
|
SW
|
S1
|
Enhedspris | Favorit | Sort Order | ||
|---|---|---|---|---|---|---|---|---|---|---|---|---|---|