Sikkerhed Booster Dyse med Luft Skærm
| Produktklassifisering | Pneumatik |
|---|---|
| Produktkategori | Fittings Tilbehør |
| Produktgruppe | Pneumatik & Medier |
| Produktprogram | Blowguns |
Parker Legris Energy Saving Blowguns
| Info | Hymatik varenr. | Leverandør varenr. |
Oprindelsesland
|
TariffNumber
|
Vægt
|
Id
|
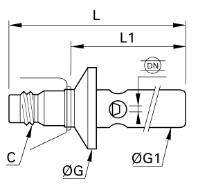
C
|
L
|
Kg
|
Note
|
Product Type
|
DN
|
G
|
L1
|
Flow
|
Spray Angle
|
G1
|
Decibel
|
Enhedspris | Favorit | Sort Order | ||
|---|---|---|---|---|---|---|---|---|---|---|---|---|---|---|---|---|---|---|---|---|---|---|---|